
据Thegamer报道,毋庸置疑,索尼一直对虚拟现实表现出浓厚兴趣,该公司正在开发全新VR技术,并提出了不仅适用于PlayStation和视频游戏的新概念。
这家日本科技和娱乐巨头在CES 2022上公布了PSVR 2及由Guerrilla与Firesprite联合开发的首款PSVR 2游戏「Horizon Call of The Mountain」,引发行业高度关注。不过,索尼正在开发的VR技术将使VR应用范围变得更广,例如生成一个元宇宙空间,在其中用户可以与现实世界的物体进行交互。

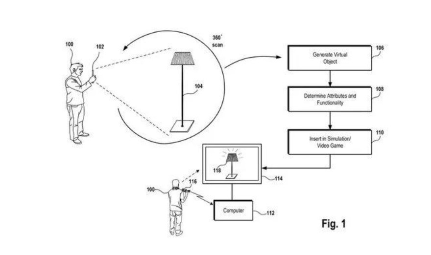
根据一项正在审批中的索尼新专利,该技术能“将现实世界中的物体扫描至虚拟现实空间,从而支持用户与物品对象互动。”,而随着元宇宙概念(人们可以在共享虚拟世界里与他人以及物体互动)的火热,这项专利可用于在虚拟世界内重建现实生活空间。尽管目前索尼并没有像Meta那般公开讨论元宇宙,但这项技术索尼既能自用,也可授权给其他科技公司,从而使元宇宙愿景更接近现实。
该专利于去年夏天提交,并经USPO多次审核,这项全新VR技术原理似乎基于运动摄影测量,这不仅让人想起索尼另一项专利申请,这份专利支持用户将普通家居用品用作游戏控制器,并可延伸至橙子、香蕉之类的物品,这将使诸如「Crash Bandicoot」之类的游戏变得相当有趣。
文章来源:93913
