游戏版号终于发放!
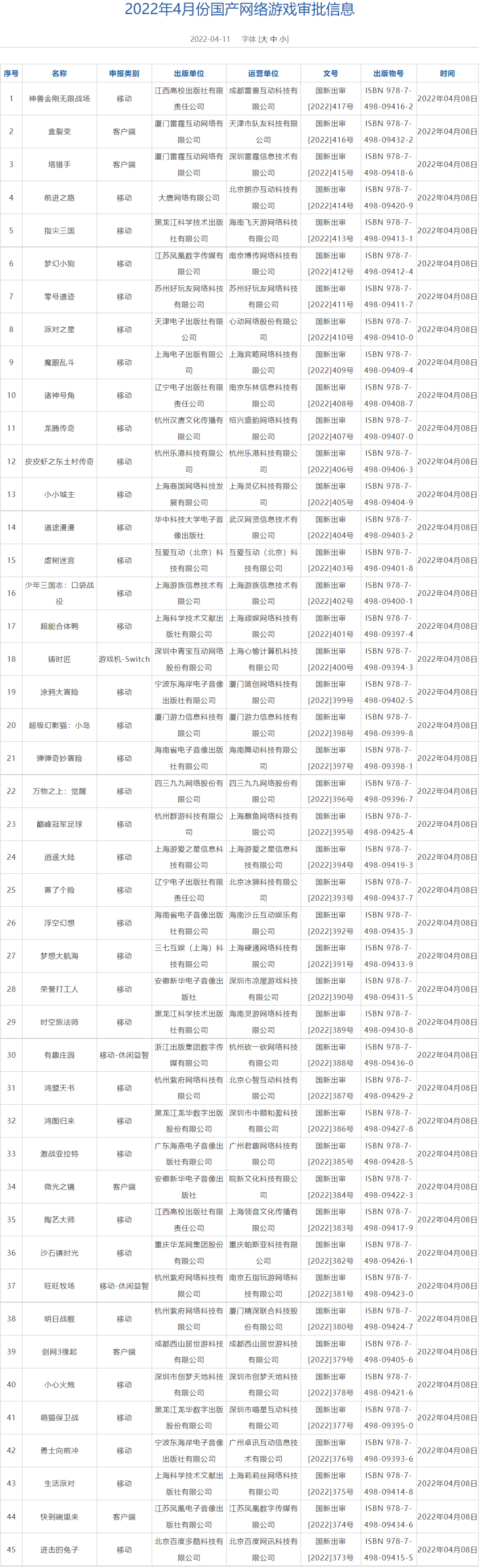
国产网络游戏4月份最新版号正式公布,这也是继去年7月份版号停发以来时隔263天的重启。本次共有45款游戏获得版号,其中包括国行NS游戏《铸时匠》。
小季PS
自从去年7月版号暂停发放以来已经过了大半年,国内无数玩家和厂商都在等待版号重开,如今总算来了。虽然这一批游戏不算亮眼,但此次重新发放版号意味着接下来会源源不断的有新游戏到来,国行玩家起码能有点盼头了。
一直以来,国产游戏和进口游戏的版号基本都是分开发放的,且时间上也往往会错开。这次发的是国产游戏版号,因此自然没有许多小伙伴想要的国行版《塞尔达》《宝可梦》等引进的游戏,可以再等等。
<滑动查看更多>
万代或将推出《.hack》旧作合集
万代南梦宫在日本和欧洲注册商标“Last Recollection(ラスト リコレクション)”。外媒推测,这是继《.hack//G.U. Last Recode》之后推出的系列旧作合集,包括《.hack//感染拡大 Vol.1》《.hack//悪性変异 Vol.2》《.hack//侵食汚染 Vol.3》《.hack//绝対包囲 Vol.4》。
苹果的新手柄
据外媒报道,苹果申请了新的手柄专利,包括3种设计。
第一种类似Switch上使用的Joy-Con,可以连接到设备两侧当作手柄使用,但目前连接方式尚未确认。
第二种类似一个Pad,按键在两边,中间则是一块辅助屏幕,用于显示虚拟键盘或者UI等元素。
第三种则是传统手柄,该手柄可以与苹果的机顶盒Apple TV配合使用,手柄中间配备一个可滑动的开关控制,用户可以用该开关切换游戏模式、消息模式、电话模式。
小季PS
在苹果目前推行的游戏订阅服务“Apple Arcade”中,有大量作品是iOS独占,安卓无法游玩。虽然整体质量还是远不及游戏机(尤其是拿得出手的大作),但就手机领域而言已经算得上是“历史最强阵容”了。
如今在移动领域,苹果在iPhone和iPad上的A系列处理器,以及Mac和iPad上的M系列处理器,在GPU方面可谓是一枝独秀,尤其是手机方面。尽管在游戏阵容上依旧孱弱,苹果在游戏行业的号召力也不够强,但多数游戏厂商和开发者们终究是“向钱看”的,倘若苹果在移动游戏领域进一步深耕,未来可能对传统游戏行业造成不小的影响。
<滑动查看更多>
《刺猬索尼克2》票房表现良好
根据外媒Variety报道,《刺猬索尼克2》在北美上映3天票房高达7100万美元,超过第一部同期5800万的票房成绩,创下了游戏改编电影的开局票房新纪录,目前本片全球票房已达到1.41亿美元。
《NS运动》新实机演示
外媒GameXplain公开任天堂体感运动游戏《Nintendo Switch 运动》12分钟新实机演示。本作将于4月29日登陆Switch,支持中文。
本作是Wii名作《Wii Sports》的续作,将包含保龄球、网球、足球、击剑等一系列运动游戏,所有游戏均支持体感、双人同屏等,且全部支持在线游戏,有排行榜模式。其中“足球”模式还支持使用健身环的腿带游玩(该配件也会单独发售)。游戏未来还将追加高尔夫等游戏。
游戏视频
《王国之心4》更多详情
随着SE正式公布《王国之心4》,本作的更多详情也浮出水面,以下是目前已知的情报。本作发售日未定、登陆平台暂未公布。
-《王国之心4》由SE大阪工作室开发,制作人为安江泰
-宣传片中采用虚幻4引擎实时渲染,正式版游戏将使用虚幻5引擎制作,最终呈现的材质、光影等效果会提升数个档次
-《王国之心4》将讲述《王国之心3》中索拉消失一年后的故事,因此索拉的外貌稍微成熟了一点
-故事舞台是类似现实的世界,名为“Quadratum”,这是以东京为原型设计的虚拟都市。据铁杆粉丝的对照分析,宣传片中索拉住的公寓在现实中是东京最昂贵的住宅区之一,月租金高达24.5万日元(约合12431元)
-本作反派仍然是无心
-《VERUM REX》是《王国之心3》中在《玩具总动员》世界中登场的虚构游戏,此前有传闻称这款作品将正式推出游戏。野村哲也 本人也曾犹豫到底制作哪款作品,由于同时开发两款游戏较为困难,因此优先选择了《王国之心4》
《鬼灭之刃》DLC详情
《鬼灭之刃 火之神血风谭》将于夏季上线DLC“追加角色包”,第1弹角色确认为“宇髄天元”,第2弹之后将分别上线灶门炭治郎(游郭篇)、鬼化祢豆子、我妻善逸(游郭篇)、嘴平伊之助(游郭篇)、堕姬、妓夫太郎,新角色将能在对战模式中使用。此外,本作NS数字版现已开放预购,6月9日正式发售。
本作曾于去年10月登陆PS/Xbox/PC平台,游戏中除了能体验《鬼灭之刃》剧情单人模式外,还包括2v2对战模式,玩家可以选择原作中的角色进行双人本地/在线对战。
《天獄ストラグル》
Otomate公开乙女游戏《天獄ストラグル -strayside-》角色宣传片“村上誉那”,本作将于6月30日登陆Switch,实体版/数字版售价7150日元(含税),特装版售价10230日元(含税)。
-STAFF-
总监:渡邉渡
插画:さとい
剧本:片桐由摩
-CAST-
八代 拓、鈴木崚汰、石川界人、斉藤壮馬、古川 慎
游戏视频
《月姬格斗》免费DLC
《月姬格斗:TYPE LUMINA》将于4月14日推出免费DLC,追加两名新角色“完全武装希耶尔”、“马里奥·贾洛·贝斯提诺”,以及两名角色的对应故事和两个新的战斗场地。此外,这两名角色对应的回合报幕语音也将作为付费DLC同步上线。
《噩梦骑士 复刻版》实机演示
战略RPG游戏《噩梦骑士复刻版 Knights in the Nightmare Remaster》实机演示(via YouTube Nintendo Hall)。本作已于4月7日登陆日服eShop,售价2860日元,仅支持日语。
本作最早于2008年登陆NDS平台,后于2010年移植PSP,游戏世界观与《公主同盟》和《约束之地》共通,玩家需要指挥因诅咒而失去灵魂的骑士,夺回被魔物占领的古城。此外,在复刻版中还追加了续关、自动装备、简单模式、战斗重试、Boss Rush等新功能。
游戏视频
投稿邮箱
771890055@qq.com
